▲선박용 날개돛을 단 선박 개요도(좌측)와 지난해 6월 16일 HD한국조선해양 관계자들이 경남 창원에서 자체 개발한 윙세일 시제품의 육상 실증 시연회를 가지고 기념 사진 촬영을 하는 모습 사진=HD현대 제공
'범선(Sailing Ship)'의 시대가 다시 열렸다. 화석 연료가 뿜어내는 탄소에 발목 잡힌 해운업계가 인류의 가장 오래된 동력원인 '바람'을 다시 호출했기 때문이다. 돛은 증기 기관의 등장으로 자취를 감췄다가 국제해사기구(IMO)와 유럽연합(EU)의 탄소 배출 규제 파고가 높아지고 바람을 이용해 선박의 연료를 절감하는 '윙세일(Wing Sail)'로 진화해 21세기 해운업계의 게임 체인저로 급부상했다. 이런 가운데 HD현대의 조선 부문 계열사가 최근 윙세일 관련 핵심 기술 특허를 싹쓸이하며 독보적인 기술 장벽을 구축했다.
규제의 파고, '바람'으로 넘는다…10억 톤 탄소 잡을 '구원투수' 돛의 부활
5일 본지 취재 결과 HD한국조선해양은 지난해 12월 24일 지식재산처로부터 윙세일 시스템 '하이윙(Hi-WING)'에 관한 8건의 특허를 확보한 것으로 확인됐다. 이는 메탄올·암모니아 등 친환경 연료가 완전히 자리 잡기 전 즉각적인 탄소 감축이 가능한 현실적 대안으로 풍력을 선택하고 기술 고도화에 나선 결과다.
현재 전 세계 해운업계의 연간 탄소 배출량은 10억 톤 이상으로 전 세계 배출량의 3%에 달한다. 이는 산업 강국인 독일이나 한국의 국가 전체 배출량을 웃도는 수치다. 이에 IMO는 2050년 탄소 중립을 선언했고, 유럽연합(EU)은 당장 2024년부터 배출권 거래 제도(ETS)를 해운업에 적용했다.
업계에서는 금속이나 복합재로 만든 21세기형 돛을 장착할 경우 화석 연료 사용을 10~51%까지 줄일 수 있다고 보고 있다. 현재 시장은 비행기 날개 원리를 이용한 '윙세일', 마그누스 효과를 이용한 원통형 '로터 세일(Rotor Sail)', 패러글라이딩 원리의 '카이트(Kite)' 등이 각축전을 벌이고 있다.
HD한국조선해양 측은 이 특허 기술이 보조 추진 장치를 넘어 풍향에 따라 스스로 변신하고 선장의 시야를 확보하며 극한 환경에서 자신을 보호하는 '지능형 로봇 시스템'이라고 설명했다.
“앞뒤가 똑같다"…180도 회전 필요 없는 '대칭형 날개'
기존의 윙세일은 비행기 날개처럼 앞(리딩 에지)과 뒤(트레일링 에지)가 고정된 비대칭 형상이었다. 이 때문에 바람의 방향이 바뀌면 거대한 날개 전체를 180도 이상 회전시켜야 했고, 이는 반응 속도 저하와 과도한 전력 소모를 유발했다.
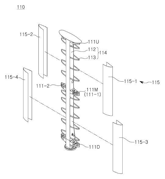
HD현대가 확보한 '선박용 날개돛(등록번호 10-2905698, 10-2905699)' 특허의 핵심은 '좌우 대칭형 주날개' 구조다.
특허 도면에 따르면 주 날개(Main Wing)는 중앙의 메인 회전축(RXM)을 기준으로 양쪽 단부가 모두 유선형으로 설계돼 있다. 덕분에 좌현에서 바람이 불면 좌측 끝이, 우현에서 불면 우측 끝이 즉시 '앞날개'가 된다. 날개를 360도 돌릴 필요 없이 시계·반시계 방향으로 90도 이내의 미세 조정만으로도 모든 바람에 대응할 수 있는 것이다.
주날개 양옆에는 두 개의 보조 날개(Flap)가 달린다. 이들은 주날개와 '연결부재(連結部材, Linkage)'로 결합되는데, 제1~제4 회전축의 각 관절마다 감속기가 달린 개별 구동 모터가 장착된다. 모터의 몸체는 한쪽 부재에 고정되고 구동축은 베어링을 통해 상대 부재를 관통하는 구조로 설계돼 수천 톤의 풍압을 견디며 정밀한 비틀림 제어가 가능하다.
난류 뚫고 '진짜 바람'만 골라 읽는 AI 알고리즘의 제어 혁신
▲선박용 날개돛의 바람 센서 선택 알고리즘. 자료=HD한국조선해양 제공
선박 갑판에 윙세일이 멀티 윙 형태로 여러 개가 설치될 경우, 앞선 날개가 만든 난류 때문에 뒤쪽 날개 센서는 엉뚱한 값을 읽기 쉽다. HD현대는 이를 '바람 센서 자동 선택 알고리즘'(등록번호 10-2905703)으로 해결했다.
시스템은 각 윙세일 상단 좌우측에 설치된 복수의 센서 데이터를 수집한 뒤 현재 상황에서 가장 신뢰할 수 있는 센서를 '마스터 센서'로 자동 채택한다. 선수풍(정면 바람)일 때는 난류 영향이 없는 '가장 앞쪽 윙세일'의 센서값을, 선미풍(뒷바람)일 때는 '가장 뒤쪽 윙세일'의 센서값을 신뢰한다. 좌현풍일 때는 각 윙세일의 '좌측 센서' 값을, 우현풍일 때는 '우측 센서' 값을 채택하는 식이다.
이 정확한 데이터를 바탕으로 운전 모드도 세분화(등록번호 10-2905700)했다. 정면에서 바람이 불면 날개를 선체와 나란히 해 저항을 줄이고(Flagging), 뒤에서 불면 90도로 펼쳐 추진력을 얻는다. 특히 바람 방향이 좌현에서 우현으로 바뀌는 순간(Tacking)에는 보조 날개의 위치를 자동으로 반전시키며, 이때 최대 양력 계수에 도달하기 직전의 각도를 유지해 실속(Stall)을 방지하는 안전 로직도 탑재됐다.
초속 20m 태풍 오면 '3단 합체'로 변신해 숨어…안전도 챙겼다
▲선박용 날개돛의 제어 알고리즘. 자료=HD한국조선해양 제공
가장 눈길을 끄는 것은 태풍 등 극한 상황에서의 생존 본능이다. 특허(등록번호 10-2905701)에는 풍속이 초당 20m 이상의 강풍이 감지될 때 작동하는 '비활성화(Deactivation) 및 네스팅(Nesting)' 시퀀스를 상세히 기술돼 있다.
날개를 눕히는 것 뿐만 아니라 부피를 줄여 파손을 막기 위해 3단계로 변신한다는 게 HD한국조선해양 측 전언이다.
우선 보조 날개를 연결부재 하부 방향으로 먼저 접는다. 이때 모터뿐 아니라 유압 제동 장치가 작동해 날개를 단단히 고정한다. 이후 보조 날개를 잡고 있는 연결부재 자체를 주날개 상부 방향으로 비틀어 올린다. 마지막으로 보조 날개가 주날개 윗면에 딱 달라붙도록 밀착시킨다.
이처럼 날개가 납작하게 포개지면 비로소 기둥 전체를 갑판 바닥으로 눕혀 바람의 영향을 원천 차단할 수 있다는 것이다.
뼈대는 강철, 피부는 복합재…'이종 결합' 기술로 이뤄낸 소재 혁신
▲선박용 날개돛 구조도. 자료=HD한국조선해양 제공
높이 30m, 폭 10m의 거대한 구조물을 가벼우면서도 튼튼하게 만드는 소재 기술(등록번호 10-2905705)도 공개됐다.
날개의 척추 역할을 하는 기둥인 '스파(Spar)'는 비틀림 강성이 뛰어난 사각 박스 형태의 철강 소재를 사용하고, 내면에는 보강재를 덧대 강도를 높였다. 반면 공기역학적 형상을 만드는 리브(Rib)와 피복재(Skin)는 가볍고 성형이 쉬운 유리섬유강화플라스틱(GFRP) 복합재를 적용했다.
서로 다른 성질인 철과 플라스틱을 결합하기 위해 HD현대는 '내삽형 브라켓(Insert Bracket)'을 고안했다. 철재 기둥에 중공형 스틸 브라켓을 설치하고, 그 안에 복합재 리브의 내삽부를 끼워 넣은 뒤 볼트로 체결하는 방식이다. 이는 구조적 강성을 확보하면서도 무게를 줄여 선박의 복원성에 미치는 영향을 최소화하기 위한 설계다.
또한 날개 하단 지지부(전·후방)와 연결부재 등 하중이 집중되는 곳에는 '응력 센서(Strain Gauge)'를 심어(특허 10-2905702) 구조물의 피로도가 한계치에 다다르면 즉시 경고를 보내는 신경망 시스템도 구축했다.
돛이 돌면 카메라는 반대로…'역회전 감시' 시스템
▲날개돛을 갖는 선박 안전 확보 장치의 알고리즘. 자료=HD한국조선해양 제공
거대한 윙세일이 조타실(휠 하우스)의 시야를 가리는 사각지대 문제는 '시야각 유지(View-keeping)' 기술(등록번호 10-2905704)로 해결했다.
윙세일 꼭대기에 설치된 카메라는 날개가 바람을 따라 회전할 때 정확히 그 반대 방향으로 회전한다. 돛이 왼쪽으로 30도 돌아가도 카메라는 오른쪽으로 30도 회전해 선장실 모니터에는 항상 선박 전방의 고정된 화면이 송출된다. 나아가 휠 하우스에서 보이는 시야와 카메라 영상을 합성해 돛 뒤편의 사각지대를 마치 투명하게 뚫어보는 듯한 영상을 제공한다.
이 카메라는 '안전 관리관' 역할도 수행한다. AI 영상 분석을 통해 선박 정박용 밧줄(무어링 로프)이 도삭기(Fairlead)나 스탠드 롤러에 감겨 마모되는지 실시간으로 감시한다. 특히 로프가 끊어질 때 튀어 오르는 위험 구역(Snap-back Zone)에 선원이 진입하면 즉시 경고 알람을 울려 인명 사고를 예방한다.
로터 세일부터 윙세일까지…HD현대의 '투트랙' 전략
HD현대그룹은 이번 윙세일 특허 이전부터 풍력 추진 분야에서 꾸준한 성과를 쌓아왔다. 계열사인 HD현대중공업은 이미 지난해 8월 독자 개발한 '하이로터(Hi-Rotor)'에 대해 한국선급(KR)의 설계 승인을 획득하고 육상 실증을 진행 중이다. 하이로터는 원통이 회전할 때 발생하는 압력차를 이용하는 로터 세일 방식으로 규모 대비 추력 생성량이 큰 것이 장점이다.
HD현대중공업은 선형별 최적의 솔루션을 제공하기 위해 로터 세일뿐 아니라 윙세일 분야에서도 2020년 노르웨이 선급(DNV)의 기본 인증(AIP)을 획득하며 기술력을 다져왔다. 이번 HD한국조선해양의 대규모 특허 확보는 이러한 연구개발(R&D)의 결정체로 향후 친환경 선박 수주전에서 확실한 '기술 초격차' 카드로 작용할 전망이다.




![상하이 한복판서 마주한 지커…“중국산 편견 지웠다” [현장]](http://www.ekn.kr/mnt/thum/202604/news-p.v1.20260428.d0d161fd5bcc43d898c4aa924a913efa_T1.jpg)
![[금융 풍향계] NH농협은행, 기업 저탄소 전환 돕는다 外](http://www.ekn.kr/mnt/thum/202604/news-p.v1.20260428.a023439a73c943fe86432c0d79bbb6c2_T1.jpg)


![[인터뷰] 롯데 야구와 한동훈의 닮은 꼴…“불리해도 끝까지 간다”](http://www.ekn.kr/mnt/thum/202604/news-p.v1.20260428.a1e32de3df3e463cbaa44d6695e41efa_T1.jpg)
![[금융권 풍향계] 해상풍력 특별법 시행...수협, 전국 돌며 ‘현장 의견 수렴’ 外](http://www.ekn.kr/mnt/thum/202604/news-p.v1.20260428.113123355a954830b9496d4d186ab9d3_T1.png)
![[EE칼럼] 수소산업의 르네상스를 꿈꾸며](http://www.ekn.kr/mnt/webdata/content/202604/40_화면_캡처_2026-04-28_222.jpg)
![[EE칼럼] 한국 에너지 정책의 만기 불일치](http://www.ekn.kr/mnt/thum/202604/news-p.v1.20250702.05b45b3b37754bef91670415ae38a4b8_T1.jpg)

![[이슈&인사이트] 청와대에 ‘핀셋’이 필요한 이유](http://www.ekn.kr/mnt/thum/202604/news-a.v1.20241109.b66efaf66a144273bc45695d05163e00_T1.jpg)
![[데스크 칼럼] 집단소송법 소급적용, 누구를 위한 법인가](http://www.ekn.kr/mnt/thum/202604/news-p.v1.20260428.4bab7efb28f74c4488d6dd7734063576_T1.jpg)
![[기자의 눈] 발전공기업 통폐합, 최악의 기후 악당 낳을라](http://www.ekn.kr/mnt/thum/202604/news-p.v1.20260427.b55d7f914e3d4ced9d9f8ec2b8377f64_T1.png)
























